Series EHS3 - Economy High Speed Steel Box Furnaces
EHS3 models are a low cost alternative for processing high speed steels and ceramics with operation to 2450°F. Ideal for Tool & Die shops, Laboratories and Schools. Equipped with silicon carbide heating elements mounted across the roof and lightweight ceramic fiber insulation forming a compact energy efficient package. Designed with an SCR power supply to automatically regulate voltage for changes in element resistance and workloads providing optimum performance at the lowest cost.
All models are completely wired, assembled, test fired and shipped ready for connection to 230 single phase voltage supply. Compact design, fast installation, and simple, safe, dependable operation. Available in five standard models sizes.
Standard Features
- Welded sheet metal shell construction with structural reinforcement.
- Silicon carbide elements mounted above the hearth to provide uniform temperature.
- SCR power supply.
- Multi-layered 6" of energy efficient ceramic fiber and mineral wool block insulation for maximum heat storage, less heat loss and lower utility costs.
- Silicon carbide hearth plates form a rugged work surface for supporting load.
- Horizontal swing door with latching handle.
- Safety micro-switch shuts off power to elements when door opens.
- Honeywell digital temperature controller with type R thermocouple.
- Controls are mounted in separate side mounted NEMA 1 panel and operate on 230 volts.
Options
Program controllers, over temperature safety system, timers, recorders, quench tanks, computer interface, gloves, tongs and foil wrap.
Specifications
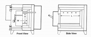
| Model | Chamber | Overall | KW | Voltage | Weight (lbs) | ||||
|---|---|---|---|---|---|---|---|---|---|
| H" | W" | L" | H" | W" | L" | ||||
| EHS3-A12 | 6 | 6 | 12 | 26 | 31 | 27 | 3 | 230/1 | 195 |
| EHS3-A18 | 6 | 6 | 18 | 26 | 31 | 33 | 4.3 | 230/1 | 225 |
| EHS3-B9 | 9 | 9 | 9 | 29 | 34 | 24 | 3.5 | 230/1 | 215 |
| EHS3-B18 | 9 | 9 | 18 | 29 | 34 | 33 | 6.3 | 230/1 | 270 |
| EHS3-B24 | 9 | 9 | 24 | 29 | 34 | 39 | 7.2 | 230/1 | 315 |
